Kitchener, Ontario-based wearables manufacturer Thalmic Labs is reportedly working on a smart glasses project with the intention of eventually releasing a consumer-facing product.
Advertisements for the company’s ‘North’ smart glasses brand first popped up in Toronto and New York City in September 2018.
The advertisements directed viewers to ‘Bynorth.com,’ a website that informed viewers that “Your smartest pair of glasses is coming.”
North’s website suggested that the company was working on a pair of glasses that would be able to send and receive text messages, utilize navigation apps and provide users with calendar information.
Apart from a privacy policy and information about a privacy officer who uses a Halifax PO box, North’s website provides very little additional information about the company or its product.
According to sources who spoke with BetaKit, Thalmic Labs is behind the advertisements.
https://twitter.com/JeffCrusey/status/1041787375171493888
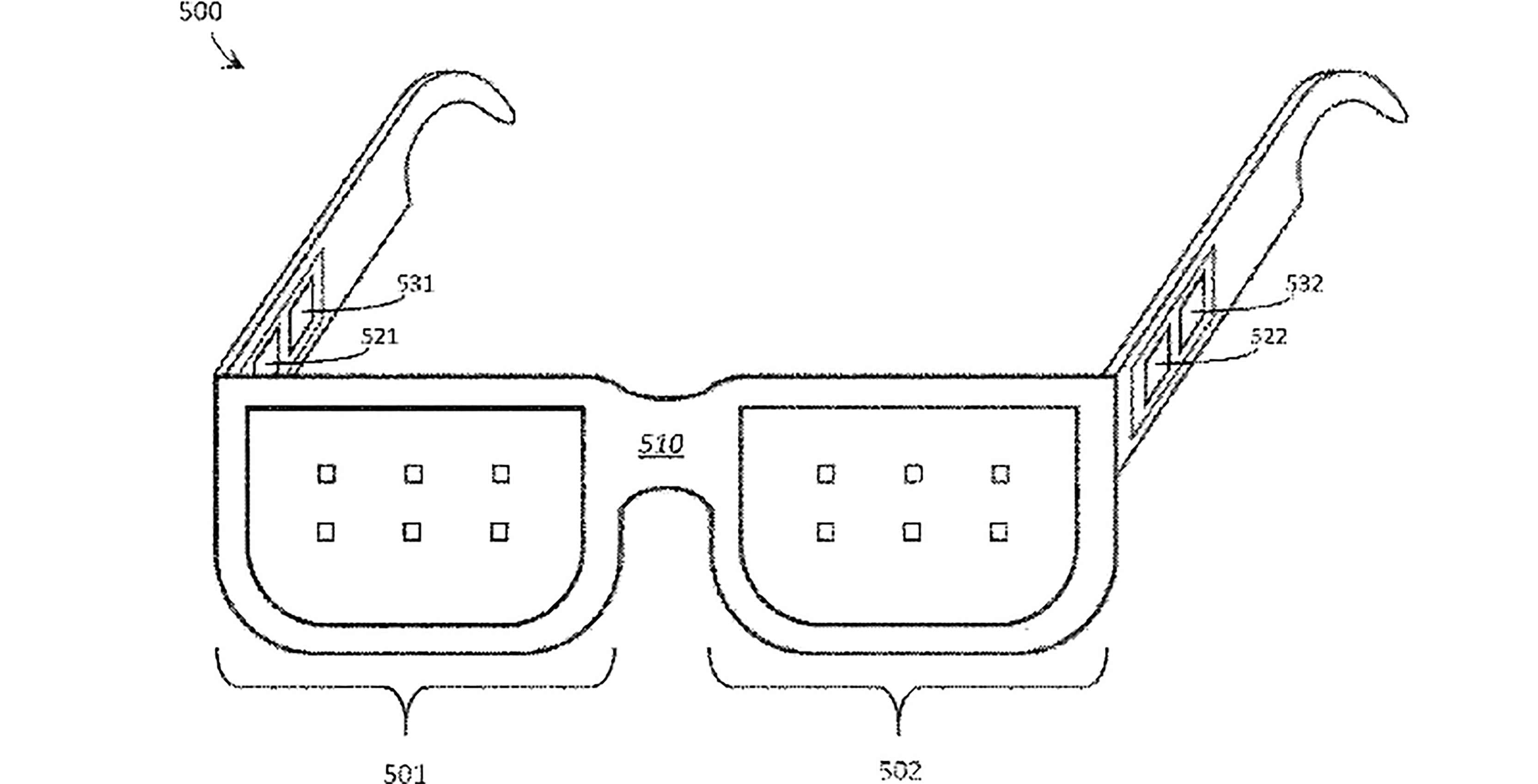
BetaKit first reported about ocular-based patents obtained by Thalmic Labs in September 2018.
According to BetaKit‘s Douglas Soltys, among these patents was a filing for a “wearable heads-up display with integrated eye tracker” that utilized “optical power holograms.”
Thalmic Lab is best-known for its Myo gesture-control armband.
MobileSyrup has not had the opportunity to corroborate BetaKit‘s sources.
Source: BetaKit
MobileSyrup may earn a commission from purchases made via our links, which helps fund the journalism we provide free on our website. These links do not influence our editorial content. Support us here.
