We’ve all been through this situation before: we get a brand new keyboard only to see the typing experience get worn down by a variety of bad habits (most of them related to eating and drinking while near our computer).
Well, it looks like Apple could be developing a keyboard that will make that worry a thing of the past.
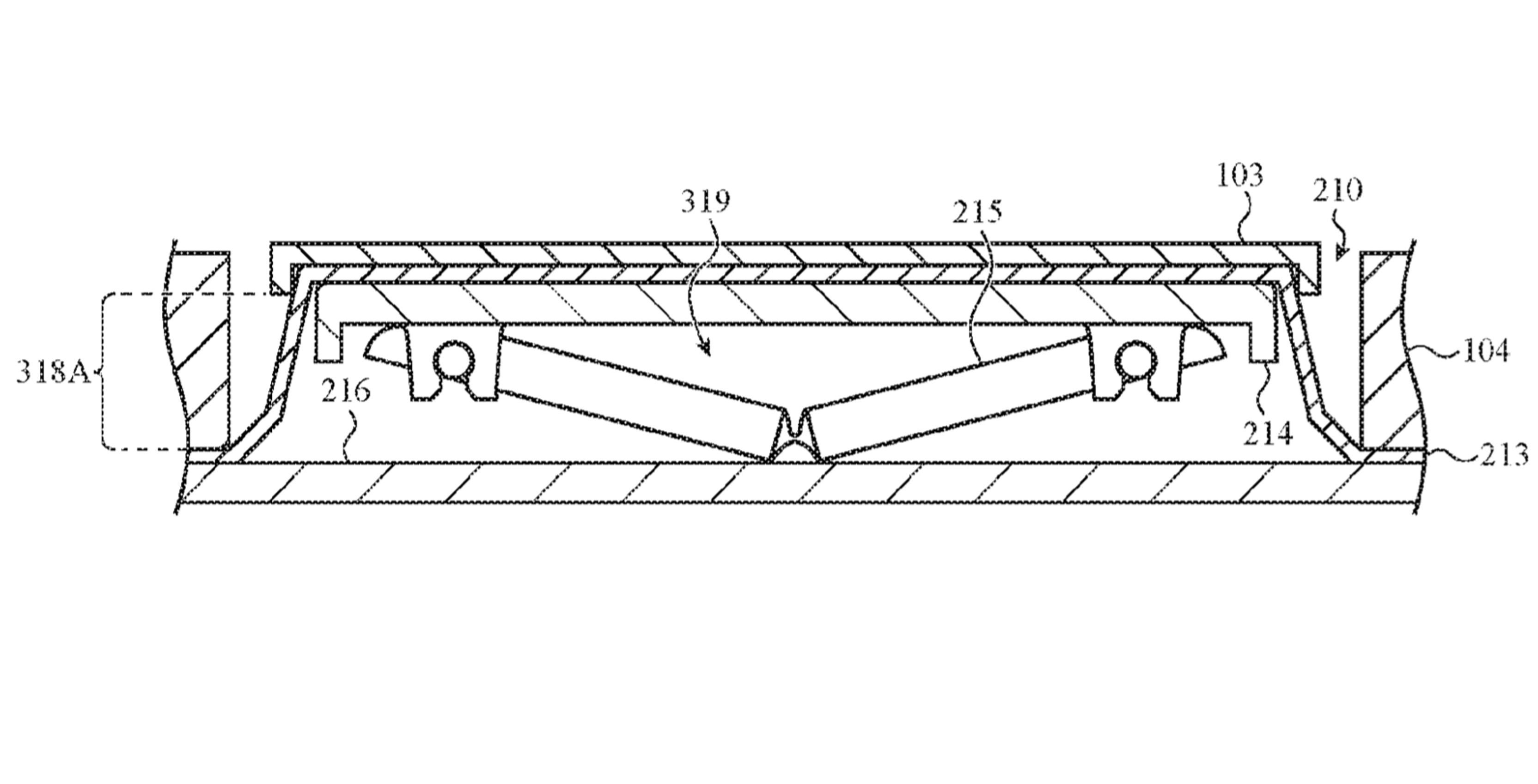
In a recent patent filing, the company details two possible keyboard designs that could keep unwanted debris away the switches that make up the heart of a keyboard. One of the designs features a membrane that creates a gush of air out every time a key is pressed.
In the patent application, Apple writes, by way of justification for its idea, “residues from such liquids, may corrode or block electrical contacts [and] prevent key movement by bonding moving parts.”
As with all patents, it’s important to keep in mind the company may not ever release a commercial product takes advantage of the ideas detailed in its latest patent filing. That said, I think I speak for everyone when say a gunk-proof keyboard would be a game changer.
Source: United States Patent and Trademark Office Via: The Verge
MobileSyrup may earn a commission from purchases made via our links, which helps fund the journalism we provide free on our website. These links do not influence our editorial content. Support us here.
