A New Nintendo patent pulls back the curtain on the next generation of Joy-Con controllers, revealing their new ability to act like a computer mouse.
In the Switch 2 trailer, there was a brief moment when both controllers were sliding across a table in a mouse-like way, and the new patent has confirmed this feature. Beyond the mouse features, the patent also revealed a new larger split controller that also has mouse functionality.
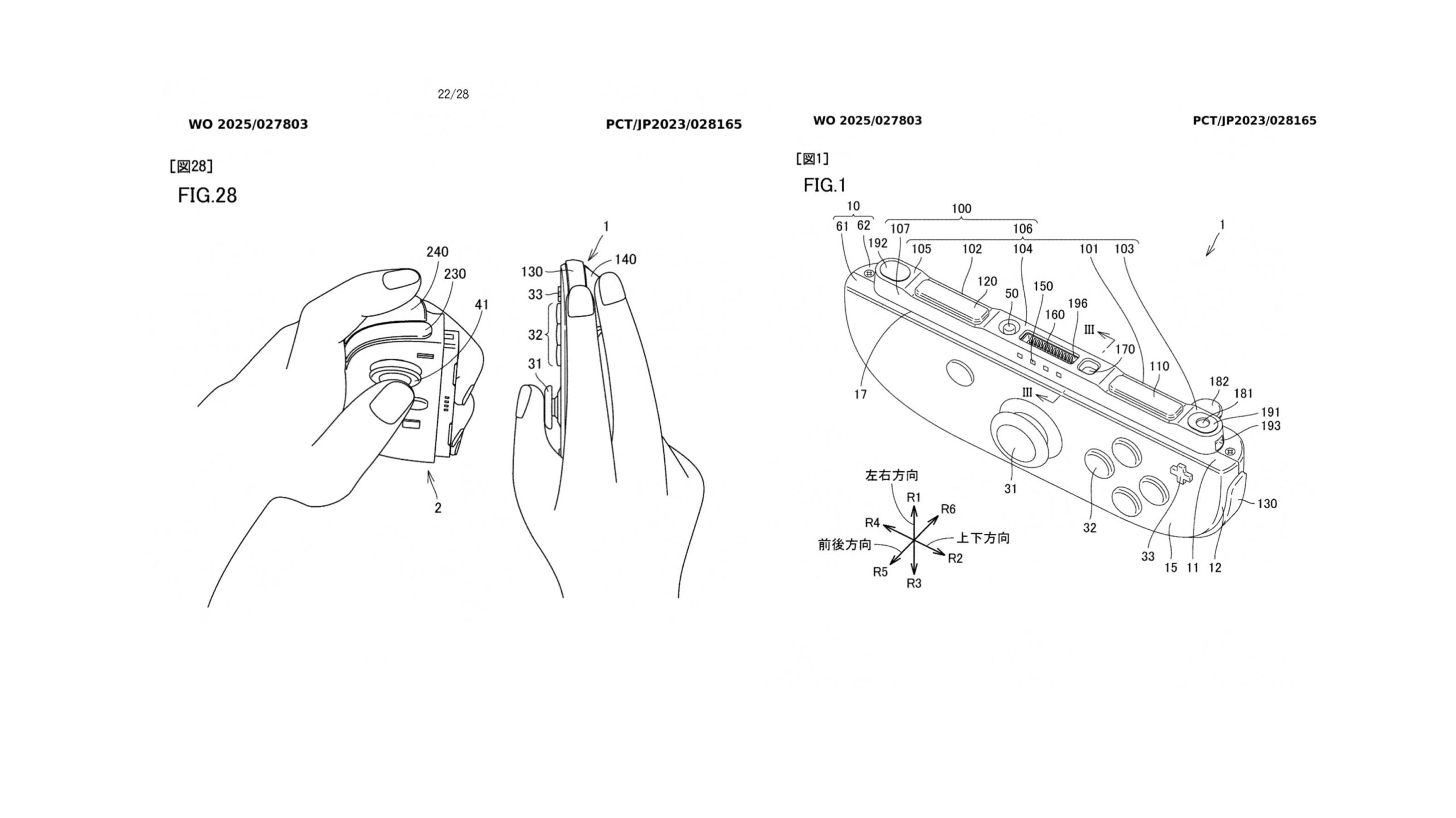
The optical sensor will be placed between the SL and SR shoulder buttons, and gamers will be able to place that edge down on a table and move the controller around like a mouse. Another patent image shows one Joy-Con being used like a mouse and the other being held normally, giving the player a sudo WSAD PC-like experience.

Further into the patent, it explains how the wrist strap/grip magnetically attaches to the controller, confirming that it will also attach to the new Switch with magnets. It’s unclear if the mouse features will still work when the wrist strap is attached.
The strangest aspect of the patent is some kind of dock/holder for both Joy-Cons. It’s unclear if this is a charger, but the front appears to have a USB-C port, so I’d expect it to power up the controllers.
The next Switch 2 Direct is on April 2, 2024, so we’ll likely learn how all these new devices work then. We’re also waiting to learn how powerful the system is and what games will launch alongside it. So far, all we know is that it’s coming in 2025 and that there will be a new Mario Kart title.
Source: Patent Scope
MobileSyrup may earn a commission from purchases made via our links, which helps fund the journalism we provide free on our website. These links do not influence our editorial content. Support us here.
