From Samsung to BlackBerry, a variety of smartphone leaks surfaced last week.
Here’s a breakdown of everything, including patents and a number of smartphone leaks and rumours. These leaks encompass news ranging from March 17th to March 23rd.
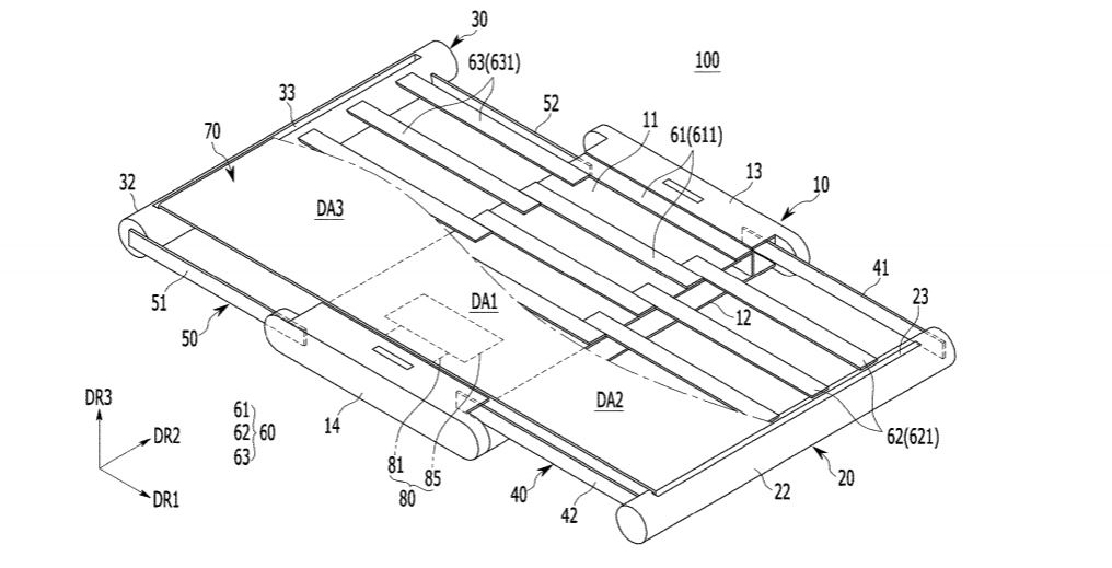
Samsung
Samsung has filed a new patent for an expandable smartphone. For this new handset, users will need to pull extra displays outwards from within the device. This will result in a larger display area for watching videos or running multiple apps.
For more about the Samsung expandable display patent, click here.
The Samsung Galaxy Note 9 may use an in-display fingerprint scanner. The company has been working on a variety of ways to implement a fingerprint sensor in the display. Finally, the company has narrowed down its choices, according to a leak from South Korea.
For more on the Samsung Galaxy Note 9 in-display fingerprint sensor, click here.
BlackBerry
Evan Blass this past week also leaked information regarding the BlackBerry Ghost Pro. The bezel-less handset is from the licensee Optiemus and is likely coming soon with the BlackBerry Ghost.
For more BlackBerry Ghost Pro information click here.
OnePlus
The latest leak of the OnePlus 6 gives us more information about the internals of the upcoming handset. According to a new rumour the OnePlus 6 will feature a Snapdragon 845 chipset, 6GB of RAM, 128GB of internal storage and a 3,450mAh battery. Further rumours point to the phone using a 6.28-inch display with a 2280 x 1080 pixel resolution OLED display.
For more on the OnePlus 6, click here.
Xiaomi
Xiaomi’s Mi Mix 2s may feature a camera on the bottom bezel of the device. Previous rumours pointed to the phone featuring the camera embedded on the top right corner of the display. However, new press renders reveal otherwise.
For more information on the Xiaomi Mi Mix 2s, click here.
Huawei
Huawei may reveal a new smartphone with 512GB of storage and 6GB of RAM. The phone will not be the P20, however, it could possibly be the Huawei P20 Pro Porsche Design.
For more on the 512GB Huawei phone, click here.
MobileSyrup may earn a commission from purchases made via our links, which helps fund the journalism we provide free on our website. These links do not influence our editorial content. Support us here.
