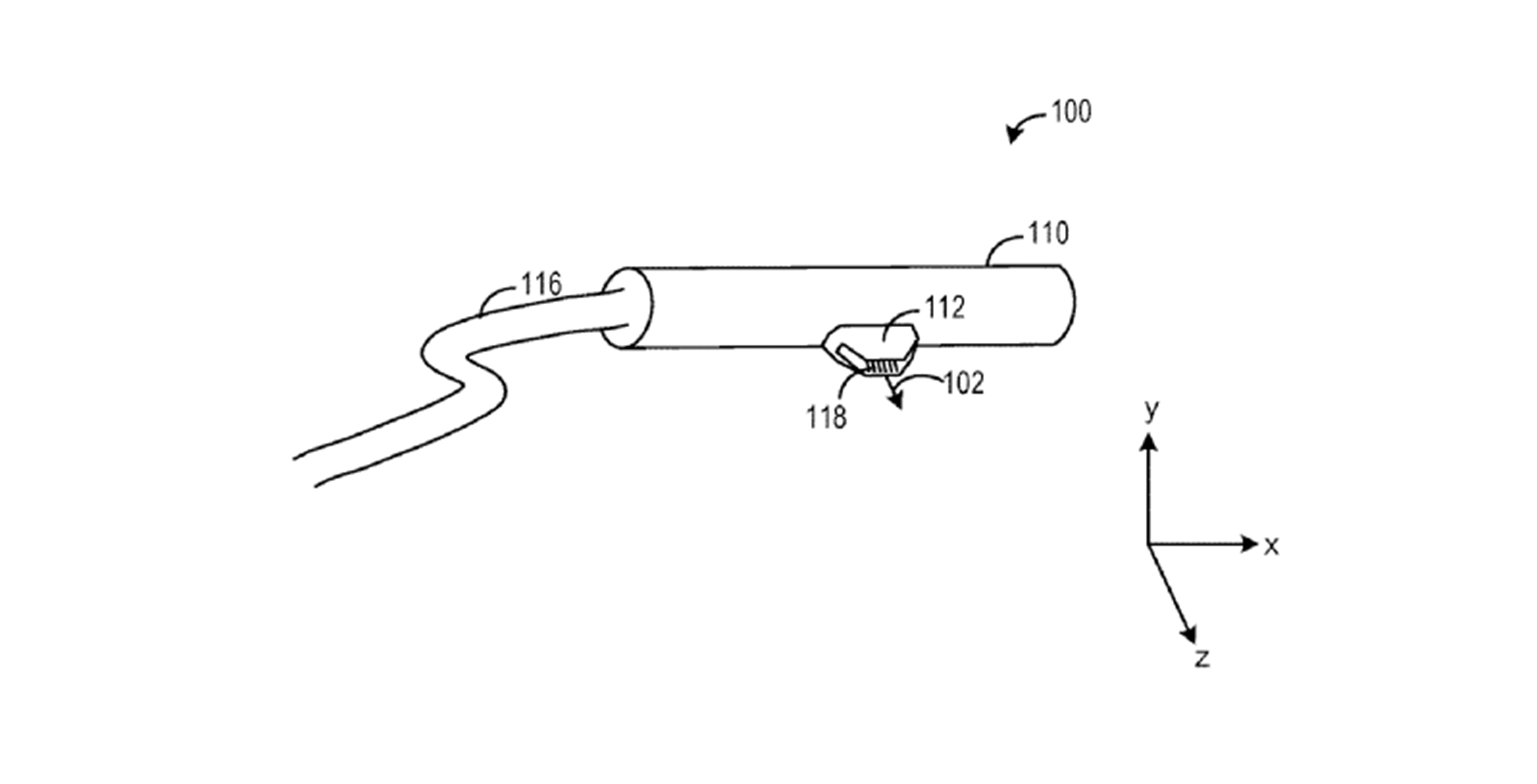
A new Microsoft patent found by MSPoweruser details a potential USB-C Surface connector that makes some compromises to retain the magnetic connection of the current Surface Connect port (shown below).
The patent, which was applied for in February 2016 by Surface designer Jan Raken, features a tapered design for the connector that will allow it to click into its slot without any force required, aided by included magnets. Unfortunately, the solution also states that the connector only supports USB 2.0 speeds — a step behind the USB 3.0 or 3.1 capabilities of most USB-C connections, which offer higher speed data transfer.
It remains unclear, though, whether that refers only to the connector itself. There’s a chance that the port will be able to support other USB 3.0 and 3.1 connectors, even if the Surface connector’s design limits it to USB 2.0.
In the meantime, Microsoft plans to release a USB-C dongle, but overall has been hesitant of integrating Type-C technology into its current range of products.
“The USB connector is a connector in transition,” Ralf Groene, the head of industrial design of Microsoft devices, told MobileSyrup at the launch of the Surface Laptop, continuing: “If you take a snapshot of now and the next four years, people have a ton of stuff that they’ve bought and want to hold onto, that is USB-A.”
Source: MSPoweruser Via: The Verge
MobileSyrup may earn a commission from purchases made via our links, which helps fund the journalism we provide free on our website. These links do not influence our editorial content. Support us here.
