A new patent has revealed a smart inflatable and retractable bumper for Apple’s Project Titan car.
Apple submitted the patent to the United States Patent and Trademark Office back in November of 2016 and it’s recently been made public.
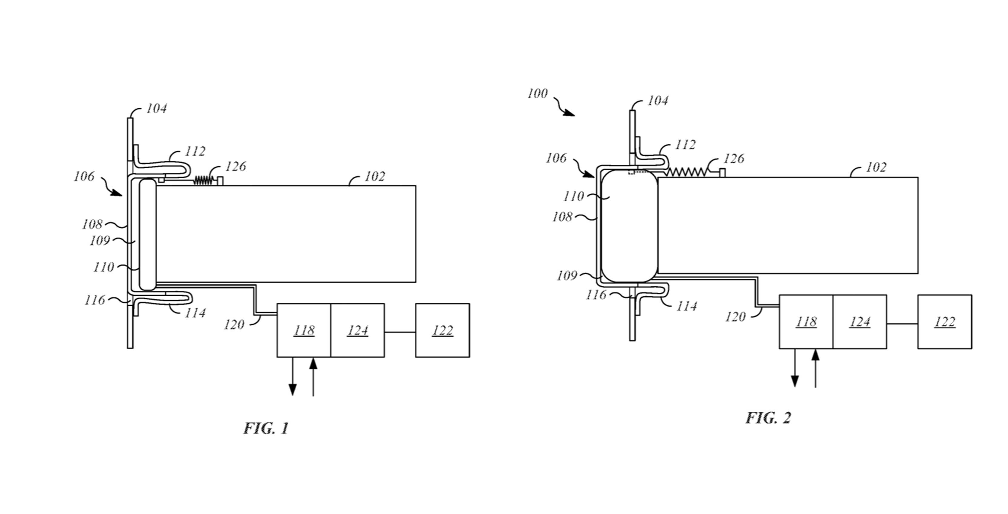
The patent details an inflatable portion the bumper that fills with pressurized gas. It’s unclear if this is for safety or for shrinking down the size of the car when it parks, but it’s an exciting concept none-the-less.
There isn’t a lot to go one from the patent’s description, but if you want to read it, you can find it here.
Project Titan has been incredibly secretive, but every once in a while a bit of news leaks out about the project. It’s now belivedthat Apple isn’t working on a full car, but rather self-driving technology. Lately, we’ve heard that the company has restructured its efforts and it’s that it recently hired Tesla’s old vice president of engineering
Source: U.S. Patent Office Via: Gizmodo
MobileSyrup may earn a commission from purchases made via our links, which helps fund the journalism we provide free on our website. These links do not influence our editorial content. Support us here.
