While Sony has yet to reveal its official plans for the PlayStation 5, the company recently filed a patent with WIPO for a new motion controller.
This motion controller features fingerprint sensors and is capable of identifying where fingers hit the sensor panel. The sensors can be used for different interactions in VR games or shooters.
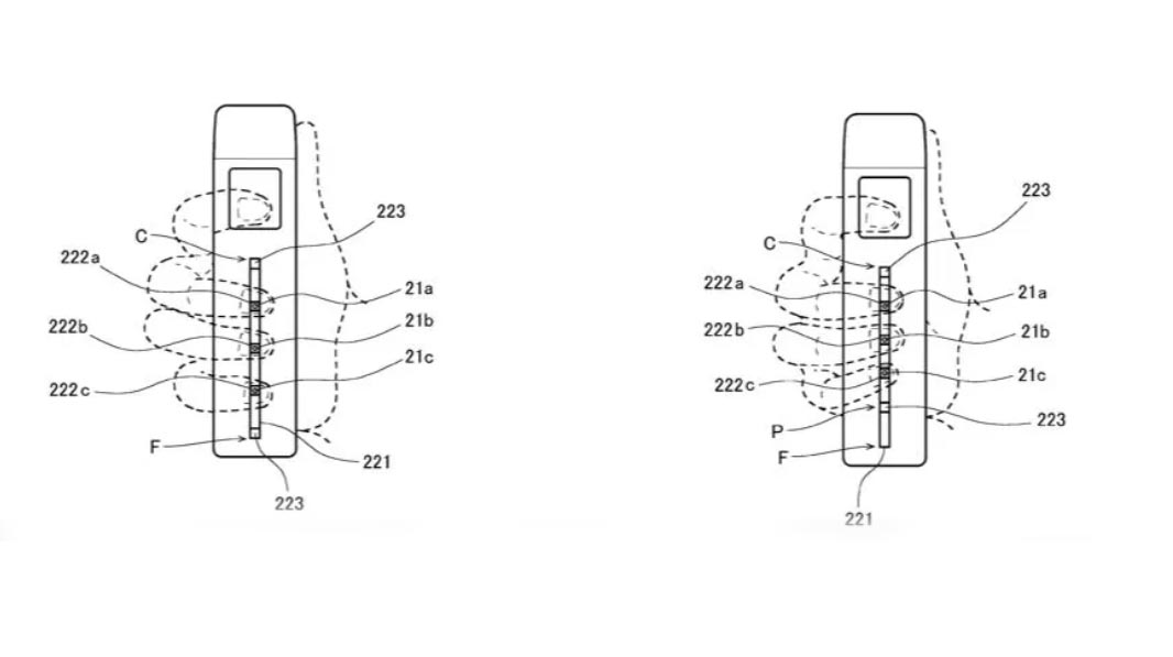
The patent also shows that the controller features a thin strip that features both fingerprint and infrared sensors. This means that when a player’s hand wraps around the controller, their fingers are touching the sensors. With both IR and fingerprint scanners, the controller can even detect how the fingers move and the distance between them to control multitouch.
The information will then be relayed to the console using the infrared. This is different from HTC’s Vive Cosmos and Facebook’s Oculus Quest, which uses cameras on the headset to track movement.
Additionally, the PS5 controller will sport a trigger button on the top with the sensors below. The other side has the joystick and the DualShock control buttons. There’s also a belt for grip.
It’s important to note that patents don’t always come to fruition, so it’s good always to take them with a grain of salt.
Image Credit: 91mobiles
Source: 91mobiles
MobileSyrup may earn a commission from purchases made via our links, which helps fund the journalism we provide free on our website. These links do not influence our editorial content. Support us here.
